Termék Bevezetés és alkalmazás
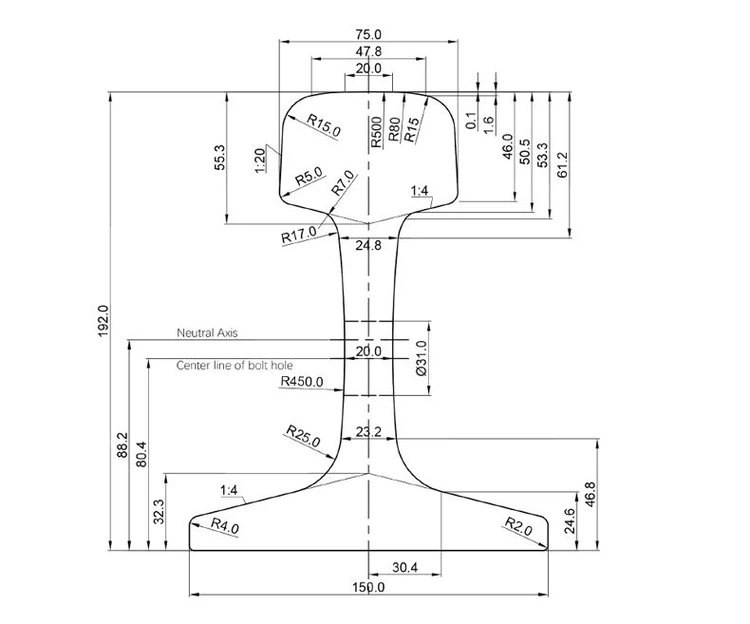
A jelenlegi GB/T 2585-2017 "Forróval hengerelt sínek a vasutakhoz" szerint, a 75 kg/m GB nehéz sín magassága 192 mm, az alsó szélesség 150 mm, a fej szélessége 75 mm, a derékvastagság 20 mm.

Általában olyan anyagokat használnak, mint az U71MN, U75V és U78CRV. Az U78CRV -t gyakran használják rendkívül túlterhelt vonalakhoz. Az U75V anyag széntartalma 0. 71% - 0. A szakítószilárdság nem kevesebb, mint 980 mPa, a hozamszilárdság nem kevesebb, mint 440 mPa, és a meghosszabbítás nem kevesebb, mint 9%.
A nehéz sínek szilárdságát, keménységét, korrózióállóságát és kopásállóságát acélgyártás, gördülés, hőkezelés, felületkezelés és egyéb technológiák alkalmazásával javítják.

Elsősorban a nemzeti vasúti csomagtartó vonalakban, a nehéz helyzetben lévő vasutakban stb. Használják, stb. A nehéz helyzetben lévő vasutaknál, nagy szilárdságának és jó kopás ellenállásának köszönhetően, megfelelhet a nagy térfogat és a nagy sűrűségű vonat működésének követelményeinek.
Termék -előírások

GYIK
K: Küldhetek mintákat?
V: Természetesen mintákat küldhetünk a világ minden tájáról, mintáink ingyenesek, de az ügyfeleknek el kell viselniük az expressz díjat.
K: Mi a szállítási kikötő?
V: Szükség szerint választhat más portokat.
K: A termékárakról?
V: A nyersanyagárak ciklikus változásai miatt a különböző időszakokban az árak eltérőek.
K: Meglátogathatom a gyárat?
V: Természetesen üdvözöljük az ügyfeleket a világ minden tájáról, hogy meglátogassuk a gyárunkat.
Népszerű tags: nagy teherbírású vonal 75 kg/m GB nehéz vasút, Kína nehéz teherbírású vonal 75 kg/m GB nehéz vasúti gyártók, beszállítók, gyár





